Shop menü

A HUAWEI IS BESZÁLL A KITERJESZTETT VALÓSÁG ESZKÖZÖK VERSENYÉBE

A kínai vállalat több szabadalom alapján azon dolgozik, hogy egy gyűrűvel is vezérelhető szemüveggel rukkoljon elő.
Szécsi Dániel (DemonDani)
Szécsi Dániel (DemonDani)
A Huawei is beszáll a kiterjesztett valóság eszközök versenyébe

Mióta a Metának kezd beindulni az a részlege, ami a Quest néven futó VR szemüvegeket és a Ray-Ban/Oakley márkajelzéseket viselő okosszemüvegeket fejleszti, azóta egyre több gyártó mutat érdeklődést a headsetek iránt. Az előző hónapban debütált a Samsung szemüvege, ami az Apple és a Meta termékei között megfigyelhető űrt tölti majd be az árazását tekintve, és már a Huawei is forral valamit.

Korábban volt már egy nagyobb VR- és okoszemüveg-láz, a Huawei abból sem maradt ki, készített a cég sok évvel ezelőtt virtuális valóság szemüveget és digitális asszisztens elérést nyújtó okosszemüveget is, noha emlékezetes sikerek nem fűződnek ezekhez. Érdekesség, hogy miközben a Samsung nagy csinnadratta mellett arról beszélt októberben, hogy az egyik okosszemüvegét a jövőben a Gentle Monsterrel fogja megtervezni, addig a Huawei ezt már 2019-ben letudta, volt az Eyewear 2-ből Gentle Monster speciális kiadás.

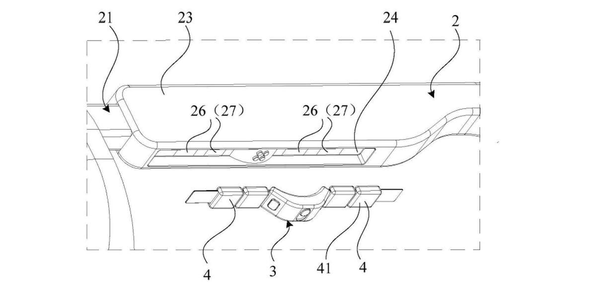
A jelek szerint a Huawei újra nyeregbe pattanhat, leporolhatja a korábbi tapasztalatait, és új szemüveggel rukkolhat elő. A vállalat által korábban benyújtott VR/AR szemüveges szabadalom azt vázolja fel, hogy a készülék egyik szárában helyet kapna egy eltávolítható apró kiegészítő, amit gyűrűvé lehet formálni, és alkalmas lenne a kiterjesztett és a virtuális valóság irányítására.

Galéria megnyitása

A saját kijelzővel rendelkező szemüvegeknél mindig kérdéses a tervezés során, hogyan oldják meg a vezérlést a mérnökök. Erre már számos különböző opciót láttunk, lényegében minden fejlesztésnek megvannak a maguk sajátosságaik – a Meta legutóbb már EMG technológiás csuklópánttal rukkolt el. A gyűrűt használó kezelés sem egy teljesen új megközelítés, viszont az, hogy a szemüveg szárában lenne egy kipattintható, pillanatok alatt felkapható dedikált gyűrűs kontroller, az mindenképpen példa nélküli.

Galéria megnyitása

A Huawei elképzelése szerint az eszköz több kis szekcióra lenne tagolva, és ennek köszönhetően tudna gyűrűt formálni, és úgy állna össze, hogy univerzálisan igazodjon a legtöbb ember ujjára. A gyűrűben szenzorok helyezkednének el, és a felületén érzékelhetné a gesztusokat, miközben a mozgáskövetéssel tudná, hova mutat a felhasználó, és ezek révén gördülékenyen navigálhatna az ember a kiterjesztett és a virtuális valóságban.

A kipattintható és hajtogatható gyűrűben integrált akkumulátor kapna helyet, ami a szárban töltene újra a szemüveg saját telepére támaszkodva. Fontos, hogy ez olyan kicsi fogyasztó, hogy a szemüveg üzemidejét jóformán egyáltalán nem befolyásolná. Miközben hordozás közben mindig kéznél lenne, nem kellene vele feleslegesen foglalkozni.

A szabadalom a gyűrűre fókuszál, de érdemes a szemüvegre is vetni egy pillantást, mivel azt is elég részletesen vázolta fel a Huawei. A képek alapján egy nagyon kompakt XR szemüvegben gondolkodhat a kínai IT óriás, ami a tervek szerint teljesen vezeték nélküli üzemre lenne képes. Azonban nem különösebben kompakt a felépítése, nem olyan méretet kell elképzelni, mint a Meta Ray-Ban Display esetén, hanem annál minden irányból egy számmal vaskosabb konstrukciót láthatunk.

Galéria megnyitása

Persze azt is meg kell jegyezni, hogy a szabadalmak sok esetben nem úgy öltenek testet, mint ahogy a kezdeti tervekben szerepeltek, sőt mi több, az is elképzelhető, hogy nem valósulnak meg. A Huawei jelen esetben valóban dolgozhat új szemüvegeken, miután több versenytársa is ezt teszi, de semmit nem tudunk arról, hogy milyen projektek futhatnak a színfalak mögött.

A fejlesztések felgyorsítása és a költségek csökkentése érdekében a gyártók szélesebb ágazati összefogásokban is gondolkodnak. A Samsung például így valósította meg a saját termékét. Mint az ismeretes, a Qualcomm és a Google is jelentősen hozzájárult a Galaxy XR-hoz. Ilyen együttműködésekre a Huawei-nek most kevesebb lehetősége van.

Hírlevél feliratkozás
A feliratkozással elfogadom a Felhasználási feltételeket és az Adatvédelmi nyilatkozatot.

Neked ajánljuk

    Tesztek

      Kapcsolódó cikkek

      Vissza az oldal tetejére